Wyciąg na siłowni to oszustwo?

Historia wyciągu sięga minimum III wieku przed naszą erą.
Wtedy Archimedes z Syrakuzy chciał udowodnić swojemu królowi Hieronowi, że jest w stanie podnieść statek nad wodę tylko i wyłącznie za pomocą swoich własnych rąk i własnymi siłami.

Brzmi abstrakcyjnie? Oczywiście, że tak brzmi. Ale tylko, gdyby nie korzystał z wyciągu.
Tak na marginesie nie wiem, czy ta opowieść jest prawdą, czy nie, ale z matematycznego punktu widzenia jest to możliwe. Jak? Już tłumaczę.

Nie wchodzą w nadmierne szczegóły:
Wyciąg pod kątem wykorzystania swojej własnej siły możemy podzielić na 2 typy:

1. wyciąg z ruchomym krążkiem linowym
2. wyciąg z nieruchomym krążkiem linowym

Czym te wyciągi się różnią? Ten pierwszy oszukuje, a ten drugi nie.
Oszukuje oczywiście na naszą korzyść, jeśli chcemy podnieść coś dużo cięższego, czego normalnie byśmy nie podnieśli.

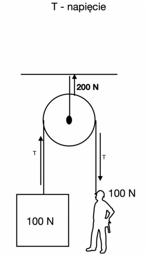
Mamy pierwszy przykład. Mamy masę w zaokrągleniu 10 kg, którego ciężar wynosi 100 N (siła grawitacji). Po drugiej stronie jesteśmy my. Pomiędzy nami a obciążeniem jest krążek linowy. Sufit tym samym, do którego jest przyczepiony krążek linowy (wyciąg) będzie sumować napięcie z jednej i drugiej strony.

Zasadniczą funkcją krążka linowego jest zmiana zwrotu oddziaływania siły (napięcia linki). I tak też się dzieje, gdy chcemy podnieść ten ciężar (np na triceps prostując stawy łokciowe). Zmieniamy napięcie po drugiej stronie krążka linowego.

Ale jaki jest efekt? Zmieniamy tylko zwrot, ale nie ciężar (odczucie ciężaru). I to jest przykład krążka linowego, gdzie krążek jest nieruchomy i przenosi obciążenie 1:1. Także ten wyciąg nie oszukuje. Mając zawieszone 10 kg – podnosimy 10 kg. Tak Archimedes na pewno statku nie podniósł.

Przejdźmy do drugiego przykładu z krążkiem ruchomym.

To jest przykład krążka ruchomego. Jaka jest cecha tego krążka? Będąc ruchomym zmienia „odczucie ciężaru”, który podnosimy i zmniejsza go o połowę, jednocześnie wydłużając drogę, którą musimy pokonać, żeby podnieść dany ciężar o połowę.

Czyli: jest łatwiej, ale więcej linki musimy pociągnąć.

I tak dokładając kolejne krążki „zmniejszamy” o kolejne połowy ciężar wydłużając drogę, którą musimy pokonać, żeby dany ciężar podnieść.

Jeśli Archimedes miał podnieść statek to tylko tak:
dał bardzo dużo krążków linowych ruchomych i jednocześnie droga, którą musiał pokonać była bardzo długa ciągnąc linę, ale przy bardzo dużej ilości tych krążków mógł to zrobić. Albo był tak silny, że wystarczyło tylko kilka. 🙂

Mam nadzieję, że temat jest bardziej zrozumiały.
Reasumując: wyciąg może oszukiwać odczucie podnoszonego ciężaru tylko w zależności od tego, czy krążek jest ruchomy, czy też nie.
Sprawdziłem to na swoim domowym wyciągu i nie oszukuje. 🙂

Mam nadzieję, ze się podobało. Zostaw komentarz i dzięki!